Skip to Content

C6-GL-39065-V21

https://cnclapka.hu/web/image/product.template/18398/image_1920?unique=1d9744a

212.984 Ft 212984.0 HUF 212.984 Ft Adóval

Not Available For Sale

Ez a kombináció nem létezik.

Név Leírás Érték
BAWS Munkadarab oldal test szög 0.0 deg
Barcode Termék vonalkód 00662885015526
CSP Hűtőfolyadék ellátási tulajdonság Internal coolant
CTMS Csatlakozás szöveg gépoldalon C6
CTWS Csatlakozás szöveg munkadarab oldalon Blade-V21
DCP Adat chip zseb 1
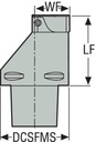
DCSFMS Érintkező felület átmérő gépoldalon 63.0 mm
HAND Vágás iránya L
ItemNumber Cikkszám 00026924
LF Működési hossz 65.00 mm
ShankType Szár típus Seco-Capto
TQ Forgatónyomaték 6.0 Nm
VER Verzió (Belső/Külső/Mindkettő) External
WF Működési szélesség 32.5 mm
Weight Nettó súly 1.361 kg

Specifikációk

Gyártó Seco